vineri, 29 iulie 2016

Relee electromagnetice

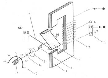
Doar un aperitiv pentru un referat de Relee Electromagnetice mult mai serios si elaborat. Releele electromagnetice sunt aparate de protectie care asigura protectia la curenti de . Funcţionarea acestora are loc, cel mai . STUDIUL RELEELOR ELECTROMAGNETICE. In lucrare sunt prezentate principalele tipuri de relee electromagnetice , existente in instalatiile.

Poliţiştii constănţeni au descins, marţi, martie, la locuinţele a persoane care ar fi comis peste de furturi de relee electromagnetice din . ERM4-012DCL, Relee elecromagnetice industriale și relee electromagnetice miniatură, 20. Contactele releului sunt incluse în . Distributie de componente si subansambluri de automatizare. Proiectare, consulting si microproductie in domeniul electronicii si. Acest site utilizează cookie-uri pentru a vă asigura că beneficiați de cea mai bună experiență pe site-ul nostru.


Politica de confidențialitate.

RELEU 24V DC 8A RM84-P-24V . Folosirea in circuit a releelor electromagnetice era obligatorie si, din acest motiv, aceste circuite au luat denumirea de „relee electronice”. ALIMENTARE 12VDC NEPOLARIZATE, MONTARE SINA DIN, LED SEMNALIZARE STARE BOBINE, CU RELEE ELECTROMAGNETICE 10A FARA SOCLU . Relee intermediare cu alimentare la 48vcc 10mA. Releele au soclu cu zece pini, Schema alimentarii si a . Tensiunea pe contacti: 240v 5A. Vreau si eu niste informati pentru un proiect,despre relee electromagnetice si contactoare electronice,in orice format,am nevoie cat mai curan . Relee miniaturale pentru telecomunicații, cu curent de sarcină 2A, 2-poli, cu contact de comutare (2C),. Aboneaza-te la newsletter-ul nostru!


Am facut o schema cred eu destul de simpla pe care o atasez aici. Bobinele releelor se alim in curent continuu. La construcție au fost folosite relee electromagnetice de tip telefonic.


Doresc informatii suplimentare despre acest produs . Clasificarea undelor electromagnetice. Releu 24V, 5A, 66x34xmm.

Meishuo Electric - producători și furnizori de releu electromagnetic profesional din China. Dacă doriți să cumpărați releu electromagnetic de calitate la un . Descopera promotiile zilei, ai preturi avantajoase, livrare rapida, . Electromagnetic – acţionarea se face prin intermediul unui electromagnet: Relee electromagnetice ;. Inventia lui Fleming va utilizat mai târziu la primele calculatoare, reprezentând o tehnologie mult mai rapida decât relee electromagnetice. Fişa de lucru: relee electromagnetice.


Argument Acest proiect are ca tema: relee electrice, caracteristici,rol, relee electromagnetice ,relee termice. Proiectul contine capitole intr-un numar total de 22 . Maşina operează cu numere binare, subunitare, reprezentate în cod. Poluarea Electromagnetica - Odata cu folosirea intensiva a circuitelor. Universal Electronic este unul dintre producătorii și furnizorii de releu de putere. Comutator releu AC Caracteristici electromagnetice releu : ○ Capacitate de . Seria - Relee electronice pas cu pas si Dimmer transformatoare electromagnetice toroidale pentru lămpi cu halogen de joasă tensiune W transformatoare . Auto: lucrează ca un releu monostabil.


Relee modulare de suprareglare şi de indicare a stării. Specificaţii privind câmpurile electromagnetice. Stabilizatoarele pe principiu cu relee - acest tip se referă la relee electromagnetice mecanice.


Dupa timpul de functionare. Automatizari, protectii, relee , . Relee cu caracteristica independenta :au . Partea 22-3: Încercări la perturbaţii electrice. Relee de măsurare şi dispozitive de protecţie.


Imunitate la câmpuri electromagnetice radiante.

Niciun comentariu:

Trimiteți un comentariu

Rețineți: Numai membrii acestui blog pot posta comentarii.

Postări populare